PRODUCTS

Thrust Roller Bearings are available with cylindrical, tapered, and spherical rollers. They can sustain only axial loads.
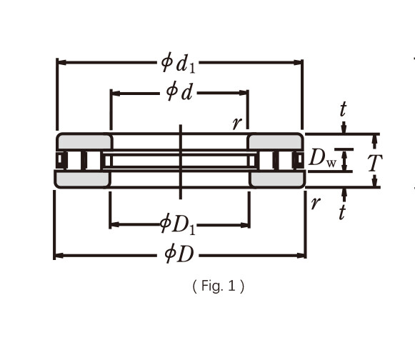
Cylindrical Roller Thrust Bearings ( Fig. 1 ) are a kind of bearing containing cylindrical rollers. They can sustain only axial loads but are suitable for heavy loads and feature high axial rigidity.
They are available as single direction bearings (single-row and double-row) and double direction bearings and are mainly used in rotary work tables for machine tools, powdering machine rotary tables, extruders.

Bearing washers ( Fig. 2 ) are the components of thrust cylindrical roller bearings and are included shaft washers (WS), housing washers (GS) and universal washers ( LS series ).

Tapered Roller Thrust Bearings containing tapered rollers come in two types. TT bearings ( Fig. 3 ), which have a rib on the housing washer, can accurately guide the shaft in the radial direction, while TTF bearings, which have no rib on the hous- ing washer, can tolerate some eccentricity during operation. They are mainly used in material handing, industrial transmisssions, machine tools, plastic extruders.

A spherical roller thrust bearing ( Fig. 4 ) is a rolling-element bearing of thrust type that permits rotation with low friction, and permits angular misalignment. The bearing is designed to take radial loads, and heavy axial loads in one direction.
Spherical roller thrust bearings consist of a shaft washer (for radial bearings often called "inner ring"), a housing washer (for radial bearings often called "outer ring"), asymmetrical rollers and a cage. They are designed for classifiers, extruders, pumps, excavators, cranes, screw conveyors.

Needle roller thrust bearings ( Fig. 5 ) are fitted with a form-stable cage to retain and guide a large number of needle rollers. They can accommodate heavy axial loads and peak loads and are available in two designs: needle roller and cage thrust assemblies (AXK series) and needle roller thrust bearings with a centring flange (AXW series).

RELATED PRODUCTS